当前位置:
受理对律师和律师事务所违法行为的投诉
2021-05-31 17:36
来源: 访问量:
打印

部门

汉中市司法局

公共服务事项名称

受理对律师和律师事务所违法行为的投诉

受理单位

汉中市司法局
公证律师管理科

办理时限

六十日内,情况复杂可再延长三十日

咨询方式

09162626412

服务的主要内容

受理对律师和律师事务所违法行为的投诉

办理依据

《中华人民共和国律师法》(国家主席令第64 ) 、《律师执业管理办法》(司法部令第112)、《律师事务所管理办法》(司法部令第125号)

申请材料

投诉材料

收费依据及标准

不收费

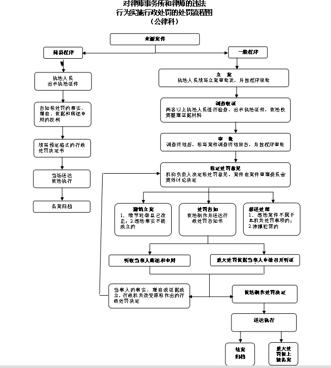
基本流程

见下图

事项编码

61070000012FW00500

 

主办单位:汉中市司法局

联系电话:0916-2626573
投稿邮箱:sf.hanzhong@163.com

陕ICP备14003207号-2   汉中网安:61230001

陕公网安备 61070202000053号

网站标识码:6107000013
网站地图

汉中市司法局

您访问的链接即将离开
“汉中市司法局”网站

是否继续?

继续访问 放弃